• Hello MLAers! We've re-enabled auto-approval for accounts. If you are still waiting on account approval, please check this thread for more information.

PowerBook 145 shuts down during startup

Hi

This is my first post here, but I need some ideas to help me troubleshoot a PowerBook 145 I acquired.
When I got it it was completely dead. After some youtube searching, I found that the diode in the power input was toast, and after replacing it with a 1N4004, the machine started Booting with the boot sound, but then immediately shuts down again. Screen briefly showing patterns.
I then replaced all the LCD caps, and the screen got much better during boot - even got to see the mouse - but still it shuts down.
Then I started to take away the hard drive, floppy and screen to see if any of those are pulling the power down. The board then seems to run steady at 7.5V, 0,5A.
Adding the screen also has the board running steady, and now with the missing boot disk symbol. Current here is around 0.9A.
Then I added the HD, which makes it shut down during boot. Current briefly peaking around 1.5A, Then instead I added the floppy drive, which uses less power, and it starts booting from the floppy, currency in the range of 1.2A. Gets to draw the menu bar, and then it shuts down.
So I suspect that something in the power management decides to shut down the machine when current gets above around 1.2-1.3A. Any ideas where to find the reason for this?
And... anyone has a link to the schematics of this or similar machines?
And finally, I am going to try to replace the lithium battery. Will a 2330 work?

Thanks
Frank C
 
Original PSU? If so, it's very likely the issue. They have ELNA-brand caps inside that leak just as often as the LCD caps do. I'd test using a known good modern PSU first, then either just use that or recap the original.
 
Actually, I use a laboratory PSU, that also measures the current. It will supply up to 3A with no issues, so I don't think this is the issue.

... and BTW, the original PSU is sooo dead. Need to fix that later.
 
Got a little further. I replaced the VL2320 with a new VL2330. The old one only measured around 1.2V, which was way too little. I can boot the machine from floppy now, and the screen looks decent. But only with the HD disconnected. As soon as I add the HD, the current draw seems to get too high, and the machine powers off. What is the normal operating wattage of this machine, and how much does the HD account for? I am wondering if the HD draws too much current or otherwise causes the machine to shut down.
The screen still behaves a bit odd, though. It's like it needs to be on for a while for the light to be stable, and after being turned off for a while it still produces patterns on boot, which will disappear after a short while. Perhaps the screen power is still bad?
I can't quite figure out where the fault is, so any help is appreciated.
 
Last edited:
My searching says the original power adapter is 7.5V 2A, so your 3A lab PSU should be more than enough if all the components are working normally.
 
Hm. It sounds possibly like a grounding issue, or something is tripping ground detection... which diode did you replace with the IN4004?
 
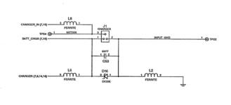
It is a diode right behind the barrel connector, the D16 (same problem as this video:
). I think it serves to prevent wrong polarization of the power input. The replacement BTW is a 1N1007 (not a 1N1004 - not that it makes a lot of difference anyway). The original D16 might be a zener, the 1N1007 is not. Not sure if that will cause a problem. But I have no details on the original D16 to go from.
Ground detection sounds likely, however chasing a grounding problem could be very difficult. Do you know anything about the ground detection circuitry, or where in the schematics it is described?
 
It is a diode right behind the barrel connector, the D16 (same problem as this video:
). I think it serves to prevent wrong polarization of the power input. The replacement BTW is a 1N1007 (not a 1N1004 - not that it makes a lot of difference anyway). The original D16 might be a zener, the 1N1007 is not. Not sure if that will cause a problem. But I have no details on the original D16 to go from.
Ground detection sounds likely, however chasing a grounding problem could be very difficult. Do you know anything about the ground detection circuitry, or where in the schematics it is described?
Ha, nope... I just had similar symptoms when I had a grounding issue in a 140, so it sounds familiar. You're right about the diode originally being a zener and present for reverse polarity protection... I have a vague memory though of a non-zener replacement possibly allowing reverse leakage, somehow - really not sure. I'm still learning these things. But that vague notion was behind my question about the diode replacement. I would be curious to know if the symptoms remain if you simply remove the diode.

The equivalent replacement is this dude: https://www.digikey.ca/en/products/detail/diodes-incorporated/DDZ13B-7/700105
Package is a little smaller, but can be made to fit.
 
But removing the diode would mean to cut power input entirely, wouldn't it?
Anyway, a periodic short sounds likely, and I do think the problem is in the screen/keyboard part of the chassis. Just difficult to figure out where to start looking...
 
It'll run without the diode:
Screenshot 2023-11-12 at 1.59.14 PM.png

Schematics are here (for 140, but 145 is the same for the most part):
Mainboard - http://bitsavers.org/pdf/apple/mac/powerbook/140/050-409_PB140.pdf
Daughter board - http://bitsavers.org/pdf/apple/mac/powerbook/140/050-410_PB140.pdf

Yeah this is going to be tough. You suggest the top case being the potential site, which reminds me the interconnect cable can also get flaky, so that's a suspect. Check the header pins, check the integrity of the display cable too. Double check your work on the display panel (and the inverter if you recapped that). Maybe reduce the components down to isolate, i.e. try without HDD or FDD installed...
 
Back
Top